-
1 知识链接
-
2 教学课件
-
3 教学视频
-
4 思政乐园
-
5 小节测验
曲拐的布置
曲轴的形状和曲拐相对位置(即曲拐的布置)取决于汽缸数、汽缸排列和发动机的发火顺序。安排多缸发动机的发火顺序应注意使连续作功的两缸相距尽可能远,以减轻主轴承的载荷,同时避免可能发生的进气重叠现象。作功间隔应力求均匀,也就是说发动机在完成一个工作循环的曲轴转角内,每个汽缸都应发火作功一次,而且各缸发火的间隔时间以曲轴转角表示,称为发火间隔角。四行程发动机完成一个工作循环曲轴转两圈,其转角为720°,在曲轴转角720°内发动机的每个汽缸应该点火作功一次。且点火间隔角是均匀的,因此四行程发动机的点火间隔角为720°/i,(i为汽缸数目),即曲轴每转720°/i,就应有一缸作功,以保证发动机运转平稳。
(1)四缸四行程发动机的发火顺序和曲拐布置如图5-9-1所示。
图5-9-1 四缸发动机曲拐布置图
四缸四行程发动机的发火间隔角为720°/4=180°,曲轴每转半圈(180°)作功一次,四个缸的作功行程是交替进行的,并在720°内完成,因此,可使曲轴获得均匀的转速,工作平稳柔和。对于每一个汽缸来说,其工作过程和单缸机的工作过程完全相同,只不过是要求它按照一定的顺序工作,即为发动机的工作顺序,也叫作发动机的发火顺序。可见,多缸发动机的工作顺序(发火顺序)就是各缸完成同名行程的次序。四缸发动机四个曲拐布置在同一平面内。1,4缸在上,2,3缸在下,互相错开180°,其发火顺序的排列只有两种可能,即为1-3-4-2或为1-2-4-3,两种工作顺序的发动机工作循环表分别见表5-9-1和表5-9-2。
表5-9-1 点火顺序为1-3-4-2工作循环表
曲轴转角/(°) | 第一缸 | 第二缸 | 第三缸 | 第四缸 |
0~180° | 做功 | 排气 | 压缩 | 进气 |
180°~360° | 排气 | 进气 | 做功 | 压缩 |
360°~540° | 进气 | 压缩 | 排气 | 做功 |
540°~720° | 压缩 | 做功 | 进气 | 排气 |
表5-9-2 点火顺序为1-2-4-3工作循环表
曲轴转角/(°) | 第一缸 | 第二缸 | 第三缸 | 第四缸 |
0~180° | 做功 | 压缩 | 排气 | 进气 |
180°~360° | 排气 | 做功 | 进气 | 压缩 |
360°~540° | 进气 | 排气 | 压缩 | 做功 |
540°~720° | 压缩 | 进气 | 做功 | 排气 |
(2)四行程直列六缸发动机的发火顺序和曲拐布置如图5-9-2所示。
图5-9-2 六缸发动机曲拐布置图
四行程直列六缸发动机发火间隔角为 720°/6=120°,六个曲拐分别布置在三个平面内,一种发火顺序是1-5-3-6-2-4,国产汽车的六缸直列发动机都用这种,其工作循环表见表5-9-3。另一种发火顺序是1-4-2-6-3-5。
表5-9-3 点火顺序为1-5-3-6-2-4发动机工作循环表
曲轴转角/(°) | 第一缸 | 第二缸 | 第三缸 | 第四缸 | 第五缸 | 第六缸 | |
0~180° | 60° | 做功 | 排气 | 进气 | 做功 | 压缩 | 进气 |
120° | 压缩 | 排气 | |||||
180° | 进气 | 做功 | |||||
180°~360° | 240° | 排气 | 压缩 | ||||
300° | 做功 | 进气 | |||||
360° | 压缩 | 排气 | |||||
360°~540° | 420° | 进气 | 做功 | ||||
480° | 排气 | 压缩 | |||||
540° | 做功 | 进气 | |||||
540°~720° | 600° | 压缩 | 排气 | ||||
660° | 进气 | 做功 | |||||
720° | 排气 | 压缩 | |||||
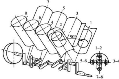
(3)四行程V型八缸发动机的发火顺序和曲拐布置
四行程V型八缸发动机的发火间隔角为720°/8=90°,V型发动机左右两列中对应的一对连杆共用一个曲拐,所以V型八缸发动机只有四个曲拐(图5-9-3)。曲拐布置可以与四缸发动机相同,四个曲拐布置在同一平面内,也可以布置在两个互相错开90°的平面内,使发动机得到更好地平衡。发火顺序为1-8-4-3-6-5-7-2。其工作循环表见表5-9-4。
图5-9-3 八缸发动机曲拐布置图
表5-9-4 点火顺序为1-8-4-3-6-5-7-2发动机工作循环表
曲轴转角/(°) | 第一缸 | 第二缸 | 第三缸 | 第四缸 | 第五缸 | 第六缸 | 第七缸 | 第八缸 | |
0~180° | 90° | 做功 | 做功 | 进气 | 压缩 | 排气 | 进气 | 排气 | 压缩 |
180° | 排气 | 压缩 | 进气 | 做功 | |||||
180°~360° | 270° | 排气 | 做功 | 压缩 | 进气 | ||||
360° | 进气 | 做功 | 压缩 | 排气 | |||||
360°~540° | 450° | 进气 | 排气 | 做功 | 压缩 | ||||
540° | 压缩 | 排气 | 做功 | 进气 | |||||
540°~720° | 630° | 压缩 | 进气 | 排气 | 做功 | ||||
720° | 做功 | 进气 | 排气 | 压缩 | |||||

