任务3 强夯法
一、任务介绍
强夯法,亦称为动力固结法,是由法国Menard技术公司在1969年创立并应用的。这种方法是将重锤(一般8~30t,最重达200t)提升到高处使其自由落下(落距一般为8~20m,最高达40m),给地基反复的冲击和振动,从而提高地基土的强度并降低其压缩性、改善砂土的抗液化条件、消除湿陷性黄土的湿陷性等作用,如图10-15所示。同时,夯击能还可以提高土层的均匀程度,减少将来可能出现的地基差异沉降。
图10-15 强夯法示意图
工程实践表明,强夯法具有施工简单、加固效果好、使用经济等优点,因而被世界各国工程界所重视。我国于20世纪70年代末首次在天津新港三号公路进行了强夯试验,随后在各地进行了多次实践和应用。到目前为止,国内已有多项工程采用了强夯法,并取得了良好的加固效果。本任务主要介绍强夯法的加固原理、设计和施工要点及质量检验方法。
二、理论知识
1.强夯法的加固原理及适用范围
目前,强夯法加固地基有三种不同的加固机理,即动力密实(dynamic compaction)、动力固结(dynamic consolidation)和动力置换(dynamic replacement),各种加固机理的待性取决于地基土的类别和强夯施工工艺。
1)加固原理
(1)动力密实。
强夯法加固多孔隙、粗颗粒、非饱和土是基于动力密实的机理,即用冲击型动力荷载,使土体中的孔隙体积减小,土体变得密实,从而提高地基土强度。非饱和土的夯实过程,就是土中的气相被挤出的过程,夯实变形主要是由于土颗粒的相对位移引起的。实际工程表明,在冲击能作用下,地面会立即产生沉陷,夯击一遍后,其夯坑深度一般可达0.6~1.0m,夯坑底部形成一超压密硬壳层,承载力可比夯前提高2~3倍。
(2)动力固结。
强夯法处理细颗粒饱和土时,则是基于动力固结机理,即巨大的冲击能在土中产生很大的应力波,破坏了土体原有的结构,使土体局部发生液化并产生许多裂隙,使孔隙水顺利逸出,待超孔隙水压力消散后,土体固结,加上软土具有触变性,土的强度得以提高。
(3)动力置换。
动力置换可分为整式置换和桩式置换,如图10-16所示。整式置换是采用强夯法将碎石整体挤入淤泥中,其作用机理类似于换土垫层。桩式置换是通过强夯法将碎石填筑于土体中,部分碎石桩(墩)间隔地夯入软土中,形成桩(墩)式的碎石桩(墩)。其作用机理类似于振冲法等形成的碎石桩,它主要是靠碎石内摩擦角和墩间土的侧限来维持桩体的平衡,并与墩间土起复合地基作用。
图10-16 动力置换类型
2)适用范围
强夯法适用于处理碎石土、砂土、低饱和度的粉土与黏性土、素填土和杂填土等地基,它不仅能提高地基土的强度,降低土的压缩性,还能改善其抗振动液化的能力和消除土的湿陷性,所以还用于处理可液化砂土地基和湿陷性黄土对等。对饱和度较高的淤泥和淤泥质土,使用时应慎重。近年来,对高饱和度的粉土与黏性土地基,有人采用在坑内回填碎石、块石或其他粗颗粒材料,强行夯入并排开软土,最后形成碎石桩与软土的复合地基,该方法称之为强夯置换(或强夯挤淤、动力置换)。例如,深圳国际机场即采用强夯块石墩法加固跑道范围内地基土。
2.设计要点
1)有效加固深度
有效加固深度既是选择地基处理方法的重要依据,又是反映地基处理效果的重要参数。其确切定义国内尚无,但一般可以理解为:经强夯加固后,可使土层强度提高,压缩模量增大,加固效果显著的土层范围。
有效加固深度应根据现场试夯或当地经验确定,也可按下列公式估算有效加固深度。
式中:H——有效加固深度,m;
W——锤重,kN;
h——落距,m;
K——修正系数,一般为0.34~0.8,如黄土修正系数取0.34~0.5。
实际上影响有效加固深度的因素很多,除了锤重和落距外,还有地基土性质、不同土层的厚度和埋藏顺序、地下水位及其他强夯设计参数等。因此,强夯的有效加固深度应根据现场试夯或当地经验确定。在无条件时,可按表10-8预估。
表10-8 强夯法的有效加固深度 单位:m
注:强夯法的有效加固深度应从最初起夯面算起。
2)夯锤和落距
夯锤重M与落距h的乘积称为单击夯击能。整个加固场地的总夯击能量(即锤重×落距×总夯击数)除以加固面积称为单位夯击能。强夯的单位夯击能应根据地基土类别、结构类型、荷载大小和要求处理的深度等综合考虑,并可以通过试验确定。一般情况下,粗粒土可取1 000~3 000kN·m/m2,细粒土可取1 500~4 000kN·m/m2。
夯锤多采用钢板外壳,内部焊接钢筋骨架后浇筑C30混凝土,如图10-17所示,或用钢板做成组合成的夯锤,如图10-18所示,以便于使用和运输。夯锤底面有圆形和方形两种,圆形不易旋转,定位方便,稳定性和重合性好,故采用较广。锤底面积宜按土的性质和锤重确定,锤底静压力值可取25~40kPa;夯锤中宜设1~4个直径为250~300mm上下贯通的排气孔,以利于空气迅速排走,减小起锤时,锤底与土面间形成真空产生的强吸附力和夯锤下落时的空气阻力,以保证夯击能的有效性。
图10-17 混凝土夯锤(圆柱形重12t;方形重8t)
1—30mm厚钢板底板;2—18mm厚钢板外壳;3—6×φ159mm钢管;4—水平钢筋网片φ16@200mm;5—钢筋骨架φ14@400mm;6—φ50mm吊环;7—C30混凝土
10-18 装配式钢夯锤(可组合成6t、8t、10t、12t)
1—50mm厚钢板底盘;2—15mm厚钢板外壳;3—30mm厚钢板顶板;4—中间块(50mm厚钢板);5—φ50mm吊环;6—φ200mm排气孔;7—M48mm螺栓
确定夯锤规格后,根据要求的单击夯击能量,可确定夯锤的落距。国内常采用8~25m的落距。对相同的夯击能量,应选用大落距的施工方案,这是因为增大落距可获得较大的触地速度,能将大部分能量有效地传递到地下深处,增加夯实效果,减少消耗在地表土层塑性变形上的能量。
3)夯击点布置和间距
(1)夯击点布置。
夯击点位置可根据基底平面形状,采用等边三角形、等腰三角形或正方形布置。对基础面积较大的建(构)筑物,可以按等边三角形布置;对办公楼和住宅,可在承重墙位置按等腰三角形布点;对工业厂房,可根据柱网来布置夯点。
强夯的处理范围应大于基础范围。对于一般建筑物而言,每边超出基础外缘的宽度宜为设计处理深度的1/2~2/3,并且不宜小于3m。
(2)夯点间距。
夯间距应根据地基土的性质和要求处理的深度来确定。第一遍夯击点间距可取夯锤直径的2.5~3.5倍,第二遍夯击点位于第一遍夯击点之间。以后各遍夯击点间距可适当减小。对于处理深度较深或单击夯击能较大的工程,第一遍夯击点间距宜适当增大。
4)夯击次数与遍数
夯击次数应根据现场试夯的夯击次数和夯沉量关系曲线并结合现场具体情况来确定。施工的合理夯击次数,应取单击夯沉量开始趋于稳定时的累计夯击次数,并且这一稳定的单击夯沉量即可用作为施工时收锤的控制夯沉量。但必须同时满足以下条件。
(1)最后两击的平均夯沉量不宜大于下列数值:当单击夯击能小于400kN·m时为50mm;当单击夯击能为4 000~6 000kN·m时为100mm;当单击夯击能大于6 000kN·m时为200mm。
(2)夯坑周围地基不应发生过大的隆起。
(3)不因夯坑过深而发生起锤困难。
夯击遍数应根据地基土的性质确定,可采用点夯2~3遍,对于渗透性较差的细颗粒土,必要时夯击遍数可适当增加。最后再以低能量满夯2遍,满夯可采用轻锤或低落距锤多次夯击,锤印搭接。
5)铺设垫层
强夯前,往往在拟加固的场地内满铺一定厚度的砂石垫层,因场地必须具有稍硬的表层,使其能支承起重设备,并使施工时产生的“夯击能”得到扩散,同时也可以加大地下水位与地表面的距离。地下水位较高的饱和黏性土和易于液化流动的饱和砂土,均需铺设砂(砾)或碎石垫层才能进行强夯,否则土体会发生流动的。对场地地下水位在-2m深度以下的砂砾石土层,可直接强夯而无需铺设垫层。垫层厚度随场地的土质条件、夯锤重量和形状等条件而定。垫层厚度一般为0.5~1.5m。铺设的垫层不能含有黏土。
6)间歇时间
需要分两遍或多遍夯击的工程,两遍夯击之间应有一定的时间间隔。各遍间的间隔时间取决于加固土层中孔隙水压力消散所需要的时间。对砂性土来说,孔隙水压力的峰值出现在夯完后的瞬间,消散时间只有2~4分钟。所以,对渗透系数较大的砂性土可以连续夯击。对于黏性土,因孔隙水压力消散较慢,故当夯击能逐渐增加时,孔隙水压力亦相应叠加,其间歇时间取决于孔隙水压力的消散情况,一般为3~4周。即对于渗透性较差的黏性土地基的间隔时间,应不小于3~4周,渗透性较好的地基可连续夯击。但如果人为地在黏性土中设置排水通道,则可以缩短间歇时间。
3.施工工艺
1)施工机械
履带式起重机起吊夯锤,其稳定性好,行走方便,如图10-19所示,采用履带式起重机作强夯起重设备。国内目前使用较多的是通过动滑轮组用脱钩装置来起落夯锤,如图10-20所示。拉动自动脱钩器的钢丝绳,其一端拴在桩架的架盘上,以钢丝绳的长短控制夯锤的落距。夯锤挂在脱钩器的钩上,当吊钩提升到要求的高度时,张紧的钢丝绳将脱钩器的伸臂拉转一个角度,致使夯锤突然落下。自动脱钩装置应具有足够的强度,而且施工时要求灵活。为了防止落锤时起重机架倾覆,应采取相应的安全保护措施。
2)施工步骤
强夯法施工可以按下列步骤进行。
(1)清理并平整施工场地,标出第一遍夯击点位置,并测量场地标高。
(2)起重机就位,使夯锤对准夯点位置,测量夯前锤顶高程。
图10-19 用履带式起重机强夯
1—夯锤;2—自动脱钩装置;3—起重臂杆;4—拉绳;5—锚绳;6—废轮胎
图10-20 强夯脱钩装置图
1—吊钩;2—锁卡焊合件;3、6—螺栓;4—开口销;5—架板;7—垫圈;8—止动板;9—销轴;10—螺母;11—鼓形轮;12—护板
(3)将夯锤起吊到预定高度,待夯锤脱钩自由下落后放下吊钩,测量锤顶高程;若出现坑底不平而造成夯锤歪斜时,应及时将坑底整平。
(4)重复步骤(3),按设计规定的夯击次数和控制标准,完成一个夯点的夯击。
(5)重复步骤(2)~(5),完成第一遍全部夯点的夯击。
(6)用推土机填平夯坑,并测量场地高程。
(7)在规定的间歇时间后,重复以上步骤逐次完成全部夯击遍数,最后用低能量满夯,使场地表层松土密实,并测量夯后场地高程。
当场地表土软弱或地下水位较高,夯坑底积水影响施工时,宜采用人工降低地下水位或铺填一定厚度的松散性材料,使地下水位低于坑底面以下2m。坑内或场地积水应及时排除。
当强夯施工所产生的振动对邻近建筑物或设备产生有害影响时,应采取防振或隔振措施。
3)施工注意事项
(1)强夯的施工顺序是先深后浅,即先加固深层土,再加固中层土,最后加固浅层土。
(2)在饱和软黏土场地上施工,为保护吊车的稳定,需铺设一定厚度的粗粒料垫层,垫层料的粒径不应大于10cm,也不宜用粉细砂。
(3)注意吊车、夯锤附近人员的安全。
4)质量检验
(1)检验的数量。
强夯地基竣工验收承载力检验的数量,应根据场地复杂程度和建筑物的重要性确定。对于简单场地上的一般建筑物,每个建筑地基的载荷试验检验点不应少于3点;对于复杂场地或重要建筑地基应增加检验点数。
(2)检验的时间。
强夯处理后的地基,其强度随着时间的增长会逐步恢复和提高的。因此,竣工验收承载力检验,应在施工结束后间隔一定时间方能进行,其间隔时间可根据土的性质而定,时间越长,强度增长越高,对于碎石土和砂土地基,其间隔时间可取7~14天;粉土和黏性土地基可取14~28天。
(3)检验方法。
强夯处理后的地基竣工验收时,承载力检验应采用原位测试和室内土工试验方法。一般工程应采用两种或两种以上的方法进行检验,对于重要工程应增加检验项目。
(4)检查强夯施工过程中的各项测试数据和施工记录。
不符合设计要求时,应补夯或采取其他有效措施。
4.现场测试
现场测试工作是强夯施工中的一个重要组成部分。因此,在大面积施工之前应选择面积不小于400m2的场地,进行现场试验以取得强夯设计数据。测试工作一般有以下几个方面的内容。
1)地面及深层变形
地面变形研究的目的如下。
(1)了解地表隆起的影响范围及垫层的密实度变化。
(2)研究夯击能与夯沉量的关系,用于确定单点最佳夯击能。
(3)确定场地平均沉降量和搭夯的沉降量,以便用于研究强夯的加固效果。
变形研究手段有:地面沉降观测、深层沉降观测和水平位移观测等。
2)孔隙水压力
一般可在试验现场沿夯击点等距离的不同深度和等深度的不同距离埋设钢弦式孔隙水压力仪,在夯击作用下,进行孔隙水压力沿深度和水平距离的变化情况测试,从而确定两个夯击点的夯距、夯击影响范围、间歇时间以及饱和夯击能等参数。
3)侧向挤压力
将带有钢弦式土压力盒的钢板桩埋入土中(见图10-21),在夯击作用下,可测试每夯击一次的压力增量沿深度的分布规律。
图10-21 钢板桩压力盒布置图
图10-22 振动加速度与水平距离关系曲线
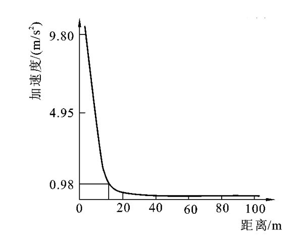
4)振动加速度
为了了解强夯施工时的振动对现有建筑物的影响,需要研究地面振动加速度。为此,强夯时应沿不同距离测试地表面的水平振动加速度,绘制成加速度与距离的关系曲线,如图10-22所示。以地表最大振动强度相当于0.98m/s2处(即认为相当于七度地震烈度)作为设计时振动影响安全距离。为了减少振动的影响,在夯区周围设置隔振沟(指一般在建筑物邻近开挖深3m左右的隔振沟)是一种较有效的方法。
三、任务实施
【例10-5】 深圳国际机场采用整式强夯挤淤置换跑道范围内地基土。
1.工程概况
深圳国际机场跑道及滑行道长度约3 400m。要求机场建成后地基剩余沉降量不超过50mm。场道均位于5~9m深的含水量高达84%的流塑状海相淤泥上,该土的特点是含水量大、强度低、灵敏度高(见表10-9),不同深度工程性质基本一致,表层基本无硬壳层,有利于形成整式强夯挤淤置换。
2.设计与施工
实现该方案的最关键技术,就是要使长达16 576m、顶宽不小于13m、高7~11m的堆石拦淤堤整体穿过5~9m深海相淤泥沉至持力层——粉质黏土层上,起到挖淤后的挡淤作用。在端部进行抛石压载挤淤施工中,拦淤堤可沉入淤泥中2.5~3.0m,再采用两侧挖淤和卸荷挤淤,又可下沉1.0~1.5m。此时拦淤堤底部距持力层仍有1.5~3.0m厚淤泥,采用强夯挤淤方法沉到持力硬士层上,强夯挤淤施工参数见表10-10。现场载荷实验的p-s图如图10-23所示。
表10-9 深圳机场淤泥的物理力学指标
表10-10 实际采用的强夯挤淤参数(自动脱钩)
图10-23 现场载荷实验p-s曲线
3.加固效果及经济效益
全部拦淤堤填筑量达189 000m3,在不到9个月(1989.5.20—1990.2.16)内全部完成,达到了安全挡淤和形成换填地基施工基坑的目的。与常规爆破挤淤相比,工期只有爆破挤淤的1/8,造价只有爆破挤淤的1/2(爆破挤淤每立方米填料费用为7~8元,强夯挤淤为3~3.5元),经强夯挤淤后实测堆石体干密度为2.05~2.15t/m3。
四、任务小结
1.强夯法的概念
将重锤(一般8~30t,最重达200t)提升到高处使其自由落下(落距一般为8~20m,最高达40m),给地基反复冲击和振动,从而提高地基土的强度并降低其压缩性、改善砂土的抗液化条件、消除湿陷性黄土的湿陷性等作用。
2.适用条件
强夯法适用于处理碎石土、砂土、低饱和度的粉土与黏性土、湿陷性黄土、素填土和杂填土等地基。
3.加固机理
加固机理包括:动力密实、动力固结和动力置换。
4.设计要点
设计的主要参数包括:有效加固深度、夯击能、夯击点的布置和间距、夯击次数和遍数、垫层铺设和间隔时间。
5.施工要点和质量检测
施工机械宜采用带有自动脱钩装置的履带式起重机或其他专用设备。采用履带式起重机时,可在臂杆端部设置辅助门架,或采取其他安全措施,防止落锤时机架倾覆。施工步骤按照规定进行,并注意施工安全。
强夯处理后的地基竣工验收时,承载力检验应采用原位测试和室内土工试验。
五、拓展提高
国内强夯技术发展迅速,应用更加广泛,出现了强夯法的两种新工法:动力排水固结法和动静结合排水固结法。自1989年以来,新强夯法在我国已成功地完成了50余项工程,如上海某机场,深圳世界之窗填海区,深圳多座立交桥,深圳春风路高架桥,深圳机场达利花园,海南大学图书馆,海南边防局三亚海警基地,深圳保安中心区罗田路、兴华西路等,所有工程均取得上佳的工程效果。
1.动力排水固结法
Smoltczyk认为动力固结法只适于塑性指数Ip≤10的土,Gambin也给出类似的结论。软黏土地基动力固结法失败的原因主要是对软黏土的特性了解不够,所采用的动力固结法工艺不适合软黏土地基的加固;冯遗兴等人采取了适应软黏土动力固结加固的有效排水系统,采用了适应软黏土地基的“先轻后重、逐级加能、少击多遍、逐层加固”的夯击方式,确立了一整套动力固结法新工艺。动力排水固结工法与传统强夯法的对比见表10-11。
表10-11 动力排水固结工法与传统强夯法对比表
加固机理:在砂垫层(或吹填砂层)上往下插设塑料排水板至软土层中,然后以严格控制的强夯动力产生附加应力,作用到软土中,产生相应的超孔隙水压力;借助于插设塑料排水板所形成的“水柱”作为传递工具,将强夯产生的附加应力迅即传到“水柱”的底部,从而使排水板所达到的深度范围内的软土都受到强夯的影响;同时,动载压缩波传到地表临空面时反射则成为拉伸波再传入土中,土越软,抗拉强度越低,则越容易产生拉伸微裂纹,在很高的孔隙压力梯度作用下,软土中的拉伸微裂纹贯通成排水通道,与排水板构成横竖交叉的网状排水系统,使软土中高压孔隙水经网状排水系统很快排到地表夯坑或排水砂层中,立即排出或流散。随着土中孔隙压力消散,软土含水量和孔隙比明显降低,软土固结后变成较密实的可塑状土,强度大幅度增长,压缩性大大减低。因强夯时附加动应力很高,往往比后续使用荷载高2~3个数量级,用动力排水固结工法加固后,浅层地基土成为超固结土,即使深层土有一些差异沉降,由于地表12m已成为硬壳层,能调整地基差异沉降,从而使表层仅呈现小量的较均匀沉降,而不会出现明显的不均匀沉降。
强夯法的主要优点如下。
(1)传统强夯法为一种大能量和能量积聚的动力固结方法,采用重锤多击,适用砂性土加固。而动力排水固结工法采用严格控制强夯动力和夯击能,使软黏土中产生的超孔隙水压力不会过快上升,以确保软土不变成“橡皮土”,成功地克服了传统强夯法用于软土的致命弱点。
(2)利用塑料排水板所形成的“水柱”将强夯产生的附加应力快速向土体深部传递,从而大大扩展了强夯的影响深度,使动力排水固结工法用于加固深厚软土成为可能。已有的工程实例表明,动力排水固结工法的加固深度已超过25m,大大突破了传统强夯法有限的加固深度(6m)。
(3)巧妙利用动载压缩波在层状土中传播与反射而使软土产生的拉伸微裂纹,以及在较高孔压梯度作用下,拉伸微裂纹又贯通成水平排水通道,并与排水板构成横竖交叉的网状排水系统,从而使软土中高压孔隙水经网状排水系统很快排出,大大加速了软土的固结过程。
(4)将受到严格控制的强夯动力反复、逐步增强地作用于软土,使软土中的超孔隙水压力维持在较高的、必要的、合理的水平上,既不破坏软土的结构,又能加速软土中孔隙水的快速排出,达到快速、稳步加固软土的目的,这是传统强夯法无法做到的。
2.动静结合排水固结法
动静结合排水固结法的基本思想是:通过改善地基土的排水条件,将强夯法和填土预压法相结合,利用动荷载较大的冲击能激发较高的孔隙水压力,在静荷载作用下孔压消散固结,土体强度得以提高。其主要特点如下。
(1)夯击前应铺设足够厚度的垫层(如砂垫层和预压填土),避免夯锤直接接触软土而导致橡皮土现象,同时填土亦作为静荷载。
(2)必须有较好的排水条件,保证动荷载作用下产生的孔隙水压力能迅速消散,土体固结。这是软土强度得以提高的根本原因,也是该法与一般强夯法的区别所在。
(3)强调动静荷载的联合使用。静荷载作用下的固结排水份额是基本的,动荷载作用下的固结量是附加的,但其作用不是两者简单的叠加,而是相辅相成、相互作用的。
(4)冲击荷载的作用不会对浅层淤泥加以彻底扰动,可保持软土内某些可靠的微结构,土体再固结后强度可以迅速提高。
(5)它使经典意义上的动力固结作用得到充分发挥,即动力八面体压缩应力作用下的孔压增长明显,而动力八面体偏应力幅值相对较小,孔压消散过程中土将固结得更彻底,相当于较大的超载预压。
动静结合排水固结法的关键在于改善地基土的排水条件,为此可设置垂直方向和水平方向排水体。由于塑料排水板具有的优点,一般使用塑料排水板作为竖向排水体,它的布设可按静荷载作用下的设计方法来进行计算;水平排水体通常由砂垫层、排水盲沟和集水井组成。砂垫层一般要求用透水性较好的中粗砂,厚度不宜小于50cm。集水井的作用是汇集排水并用水泵及时将水排到场区外,保证排水通畅。
强夯法两种新工法的具体施工方法可详见其他参考文献。
六、拓展练习
1.何为强夯法?强夯法的加固机理是什么?
2.强夯法的适用范围有哪些?设计要点包括哪些?
3.强夯法加固哪些土是基于动力密实机理?加固哪些土是基于动力固结理论?
4.简述强夯法的施工步骤?
5.现场测试工作一般有哪些?
6.某工程采用强夯法加固,加固面积为5 000m2,锤重为10t,落距为10m,单点击数为8击,夯点数为200,夯击5遍,求:单击夯击能是多少?单点夯击能是多少?总夯击能是多少?该场地的单位夯击能是多少?

