任务4 挤密桩法
一、任务介绍
挤密桩法是以振动、冲击或带套管等方法成孔,然后向孔内填入砂、碎石、土或灰土、石灰、渣土或其他材料,再加以振实成桩并且进一步挤密桩间土的方法。其加固原理一方面是施工过程中挤密、振密桩间土,另一方面桩体与桩间土形成复合地基。挤密桩按填料类别可分为土或灰土桩、石灰桩、碎(砂)石桩、渣土桩等;按施工方法可分为振冲挤密桩、沉管振动桩、爆破挤密桩等。本任务主要介绍土和灰土桩、石灰桩、碎(砂)石桩、水泥粉煤灰碎石桩的加固机理、设计和施工要点。
二、理论知识
1.土桩和灰土桩
土桩与灰土桩在我国西北、华北地区应用比较广泛,适用于处理地下水位以上的湿陷性黄土、新近堆积的黄土、素填虫和杂填土。它是利用打入钢套管(或振动沉管、炸药爆破)在地基中成孔,通过“挤压作用”,使地基土加密,然后再在孔内分层填入素土(或灰土、粉煤灰加石灰)后夯实而形成土桩(或灰土桩、二灰桩)。它们属于柔性桩,桩与桩间土共同组成复合地基。
所谓复合地基,一般可认为由两种刚度(或模量)不同的材料(桩体和桩间土)所组成,在相对刚性基础下,两者共同分担上部荷载并协调变形(包括剪切变形)的地基。
土(或灰土、二灰)桩挤密法与其他地基处理方法比较,主要有以下特点。
(1)土(或灰土、二灰)桩挤密法是横向挤密,同样可以达到加固后所要求的最大干密度。
(2)与换土垫层相比,不需要开挖回填,因而节约了时间,比换土垫层法缩短工期约一半。
(3)由于不受开挖和回填的限制,处理深度一般可达12~15m。
(4)由于填料是就地取材,因而常比其他处理湿陷性黄土和人工填土的地基处理方法造价低,尤其是可利用粉煤灰变废为宝,取得很好的社会效益和经济效益。
当地基的含水量大于24%,并且其饱和度大于65%时,由于成孔质量不好,拔管后桩孔容易缩颈,而且打管时容易对邻近已回填的桩体造成破坏。如果施工时不采取排水措施,则不宜采用土(或灰土、二灰)桩挤密法处理地基。还应注意的是:如果黄土层中夹有薄沙砾层时,必须要经过成孔试验;而且当夹层厚度大于0.4m时,因施工时打管困难,也不宜采用土(或灰土、二灰)桩挤密法。
土桩主要用来消除湿陷性黄土的湿陷性,当以提高地基的承载力或水稳性为主要目的时,应适用灰土桩。
1)土桩和灰土桩的设计
(1)桩孔直径。
根据工程量、挤密效果、施工设备、成孔方法及经济等情况而定,一般选用直径为300~450mm。
(2)桩长。
根据土质情况、桩处理地基的深度、工程要求和成孔设备等因素确定,一般为5~15m。
(3)桩距和排距。
桩孔一般按等边三角形布置,桩孔之间的中心距离,可为桩孔直径的2.0~2.5倍,也可按下式估算。
式中:s——桩孔之间的中心距离,m;
d——桩孔直径,m;
ρdmax——桩间土的最大干密度,t/m3;
——地基处理前土的平均干密度,t/m3;
——桩间土经成孔挤密后的平均挤密系数,对重要工程不宜小于0.93,对一般工程不应小于0.90。
桩间土的平均挤密系数ηc,应按下式计算。
式中:
——在成孔挤密深度内,桩间土的平均干密度,t/m3。
平均试样不应少于6组。桩孔的数量可按下式估算。
式中:n——桩孔的数量;
A——拟处理地基的面积,m2;
Ae——根土或灰土挤密桩所承担的处理地基面积,m2;
de——根桩分担的处理地基面积的等效圆直径,m。
桩孔按等边三角形布置时,有de=1.05s;桩孔按正方形布置时,有de=1.13s。
其中
(10-20)
(4)处理范围。
灰土挤密桩和土挤密桩处理地基的面积,应大于基础或建筑物底层平面的面积,并应符合下列规定:当采用局部处理时,对非自重湿陷性黄土、素填土和杂填土等地基,每边不应小于基底宽度的0.25倍,并不应小于0.50m;对自重湿陷性黄土地基,每边不应小于基底宽度的0.75倍,并不应小于1.00m。当采用整片处理时,超出建筑物外墙基础底面外缘的宽度,每边不宜小于处理土层厚度的1/2,并不应小于2m。
(5)填料和压实系数。
桩孔内的填料,应根据工程要求或处理地基的目的确定,桩体的夯实质量宜用平均压实系数
控制。
当桩孔内用灰土或素土分层回填、分层夯实时,桩体内的平均压实系数
值,均不应小于0.96。消石灰与土的体积配合比,宜为2∶8或3∶7。
(6)承载力和变形模量。
灰土挤密桩和土挤密桩复合地基承载力特征值,应通过现场单桩或多桩复合地基载荷试验确定。初步设计当无试验资料时,可按当地经验确定,但对于灰土挤密桩复合地基的承载力特征值,不宜大于处理前的2.0倍,并不宜大于250kPa;对于土挤密桩复合地基的承载力特征值,不宜大于处理前的1.4倍,并不宜大于180kPa。
(7)变形计算。
灰土挤密桩和土挤密桩复合地基的变形计算,应符合现行国家标准《建筑地基基础设计规范》(GB 50007—2011)的有关规定,其中复合土层的压缩模量,可采用载荷试验的变形模量代替。
2)土桩和灰土桩的施工
(1)成孔方法。
土桩和灰土桩的成孔方法有沉管法、爆扩法及冲击法等。可按地基土的物理力学性质、桩孔深度、机械设备和施工经验等因素选定。
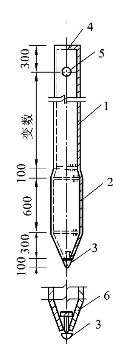
沉管法是用打桩机将与桩孔同直径的钢管打入土中,使土向孔的周围挤密,然后缓慢拔管成孔。桩管顶设桩帽,下端作成锥形约成60°角,桩尖可以上下活动(见图10-24),以利空气流动,可减少拔管时的阻力,避免坍孔。成孔后应及时拔出桩管,不应在土中搁置时间过长。成孔施工时,地基土宜接近最优含水量,当含水量低于12%时,宜加水增湿至最优含水量。本法简单易行,孔壁光滑平整,挤密效果好,应用最广。但处理深度受桩架限制,一般不超过8m。
爆扩法系用钢钎打入土中形成直径25~40mm孔或用洛阳铲打成直径60~80mm孔,然后在孔中装人条形炸药卷和2~3个雷管,爆扩成直径20~45cm。本法工艺简单,但孔径不易控制。冲击法是使用冲击钻钻孔,将0.6~3.2t重锥形锤头提升0.5~2.0m高后落下,反复冲击成孔,用泥浆护壁,直径可达50~60cm,深度可达15m以上,适于处理湿陷性较大的土层。
图10-24 桩管构造
1—φ275mm无缝钢管;2—φ300mm×10mm无缝钢管;3—活动桩尖;4—10mm厚封头板(设φ300mm排气孔);5—φ45mm管焊于桩管内,穿M40螺栓;6—重块
(2)桩孔回填夯实。
桩孔应分层回填夯实,每次回填厚度为250~400mm,人工夯实用重25kg,带长柄的混凝土锤,机械夯实用偏心轮夹杆或夯实机或卷扬机提升式夯实机,或链条传动摩擦轮提升连续式夯实机,一般落锤高度不小于2m,每层夯实不少于10锤。施打时,逐层以量斗定量向孔内下料,逐层夯实。当采用连续夯实机时,则将灰土用铁锹不间断地下料,每下2锹夯2击,均匀地向桩孔下料、夯实。桩顶应高出设计标高15cm,挖土时将高出部分铲除。
成孔和孔内回填夯实应符合下列要求。
①成孔和孔内回填夯实的施工顺序,当整片处理时,宜从里(或中间)向外间隔1~2孔进行,对大型工程,可采取分段施工;当局部处理时,宜从外向里间隔1~2孔进行。
②向孔内填料前,孔底应夯实,并应抽样检查桩孔的直径、深度和垂直度。
③桩孔的垂直度偏差不宜大于1.5%。
④桩孔中心点的偏差不宜超过桩距设计值的5%。
⑤经检验合格后,应按设计要求,向孔内分层填入筛好的素土、灰土或其他填料,并应分层夯实至设计标高。
桩孔填料夯实机目前有两种:一种是偏心轮夹杆式夯实机;另一种是采用电动卷扬机提升式夯实机。前者可上、下自动夯实,后者需用人工操作。
夯锤形状一般采用下端呈抛物线锤体形的梨形锤或长锤形,二者重量均不小于0.1t。夯锤直径应小于桩孔直径100mm左右,使夯锤自由下落时将填料夯实。填料时每一锹料夯击一次或二次,夯锤落距一般在600~700mm,每分钟夯击25~30次,长6m桩可在15~20min内夯击完成。
(3)施工中可能出现的问题和处理方法。
①夯打时桩孔内有渗水、涌水、积水现象可将孔内水排出地表,或将水下部分改为混凝土桩或碎石桩,水上部分仍为土(或灰土)桩。
②沉管成孔过程中遇障碍物时可采取以下措施处理。
●用洛阳铲探查并挖除障碍物,也可在其上面或四周适当增加桩数,以弥补局部处理深度的不足,或从结构上采取适当措施进行弥补。
●对未填实的墓穴、坑洞、地道等面积不大,挖除不便时,可将桩打穿通过,并在此范围内增加桩数,或从结构上采取适当措施进行弥补。
③夯打时造成缩径、堵塞、挤密成孔困难、孔壁坍塌等情况,可采取以下措施处理。
●当含水量过大缩径比较严重时,可向孔内填干砂、生石灰块、碎砖碴、干水泥、粉煤灰;如含水量过小,可预先浸水,使之达到或接近最优含水量。
●遵守成孔顺序,由外向里间隔进行(硬土由里向外)。施工中宜打一孔,填一孔,或隔几个桩位跳打夯实,合理控制桩的有效挤密范围。
3)质量检验
成桩后,应及时抽样检验灰土挤密桩或土挤密桩处理地基的质量。对一般工程,主要应检查施工记录、检测全部处理深度内桩体和桩间土的干密度,并将其分别换算为平均压实系数λc和平均挤密系数ηc。对重要工程,除检测上述内容外,还应测定全部处理深度内桩间土的压缩性和湿陷性。
抽样检验的数量,对一般工程不应少于桩总数的1%,对重要工程不应少于桩总数的1.5%。
灰土挤密桩和土挤密桩地基竣工验收时,承载力检验应采用复合地基载荷试验。检验数量不应少于桩总数的0.5%,并且每项单体工程不应少于3点。
夯实质量的检验方法有下列几种。
(1)轻便触探检验法先通过试验夯填,求得“检定锤击数”,施工检验时以实际锤击数不小于检定锤击数为合格。
(2)环刀取样检验法先用洛阳铲在桩孔中心挖孔或通过开剖桩身,从基底算起沿深度方向每隔1.0~1.5m用带长把的小环刀分层取出原状夯实土样,测定其干密度。
(3)载荷试验法对重要的大型工程应进行现场载荷试验和浸水载荷试验,直接测试承载力和湿陷情况。
上述前两项检验法,其中对灰土桩应在桩孔夯实后48h内进行,二灰桩应在36h内进行,否则将由于灰土或二灰的胶凝强度的影响而无法进行检验。
2.石灰桩
石灰桩是指采用机械或人工在地基中成孔,然后灌入生石灰或按一定比例加入粉煤灰、炉渣、火山灰等掺和料及少量外加剂进行振密或夯实而形成的桩体,石灰桩与经过改良后的桩周土共同承担上部建筑物荷载。
用石灰加固软弱地基至少有2000年的历史,但直到20世纪中叶,不论是国内还是国外,大多还只是属于表层或浅层处理。例如,用3∶7或2∶8的灰土夯实作为路基和房基,或将生石灰直接投入软土层,用木夯夯实,使土挤密、干燥和变硬。由此,发展到用木槌在土中冲孔,在土中投入生石灰块,经吸水膨胀形成桩体,其深度一般在300~500mm,形状上大下小,桩周土往往形成一层坚硬的外壳,近似陶土。
我国于1953年开始对石灰桩进行了研究,当时天津大学与天津市等单位对生石灰的基本性质、加固机理、设计和施工等方面进行了系统的研究,由于当时的条件,施工系手工操作,桩径仅100~200mm,长度仅2m,又因为发现桩中心软弱等问题,所以工作未能继续。1975—1980年,北京铁路局勘测设计所、同济大学等单位进行了石灰桩与其他加固方法对比试验研究,证明了石灰桩的良好加固效果。
直到1981年后,江苏省建筑设计院对东南沿海的大面积软土地基采用生石灰与粉煤灰掺和料进行加固,仅南京市采用生石灰桩加固了50余幢房屋的软土地基,加固面积达30 000m2,取得了较好的经济技术效果。其后浙江省建筑科学研究所与湖北省建筑科学研究院等单位相继展开了试验研究和工程实践应用,都做出了卓有成就的工作。
在国外,20世纪60年代期间,德、美、英、法、苏联、日、瑞典、澳大利亚等国纷纷开展石灰加固软基的研究和应用,现代化机械施工加大了桩长的应用,拓宽了应用领域。
1)石灰桩的分类
按用料特征和施工工艺分类,可分为以下三种。
(1)块灰灌入法(亦称石灰桩法)。
采用钢套管成孔,在孔内灌入新鲜生石灰块,或在石灰块中掺入适量的水硬性掺和料粉煤灰和火山灰,配合比一般为8∶2或7∶3,在拔管的同时进行振密和挤密。利用生石灰吸取桩周土体中水分进行水化反应,此时生石灰的吸水、膨胀、发热及离子交换作用,使桩四周土体的含水量降低、孔隙减小,土体挤密和桩体硬化。
(2)石灰柱法(粉灰搅拌法)。
粉灰搅拌法是粉体喷射搅拌法的一种,所用的原材料是石灰粉。通特制的搅拌机将石灰粉加固料与原位软土搅拌均匀,促使软土硬结,形成石灰土柱。例如,采用水泥粉作为加固料,称为水泥粉喷射桩。
(3)石灰浆压力喷注法。
石灰浆压力喷注法是高压喷射注浆法的一种。它是采用压力将石灰浆或石灰-粉煤灰(二灰)浆喷射注于地基土的孔隙内或预先钻进桩孔内,使灰浆在地基土中扩散和硬凝,形成不透水的网状结构层,从而达到加固的目的。
2)加固机理
石灰桩既有别于砂桩、碎石桩等散体材料桩,又与混凝土桩等刚性桩不同。其主要特点是在形成桩身强度的同时也加固了桩间土。当用于建筑物地基时,石灰桩与桩间土组成了石灰桩复合地基共同承担上部结构的荷载。在加固机理上,石灰桩与古老的石灰掺填法及现代石灰桩法有共同之处,它们都是利用石灰、水和土的基本作用,但是,在作用的贡献上却有所不同。石灰桩加固地基的机理可以从以下几个方面探讨。
(1)石灰桩的挤密作用。
①成桩挤密作用。石灰桩施工时是由振动钢管下沉成孔,使桩间土产生挤压和排土作用,其挤密效果与土质、上覆压力及地下水状况等有密切关联。一般地基土的渗透性越大,打桩挤密效果越好,挤密效果对地下水位以上比以下的要好。
②膨胀挤密作用。石灰桩在成孔后贯入生石灰便吸水膨胀,使桩间土收到强大的挤压力,这对地下水位一下软黏土的挤密起主导作用。测试结果表明:根据生石灰质量高低,在自然状态下熟化后其体积可增加1.5~3.5倍,即体膨胀系数为1.5~3.5。
(2)吸水、升温使桩间土强度提高。
软黏土的含水量一般为40%~80%,1kg生石灰的消化反应要吸收0.32kg的水,同时在理论上将放出278k C的热量。
我国加掺和料的石灰桩,桩内温度最高到200~300℃。桩间土的温度升高滞后于桩体,在正常情况下,桩间土的温度最高可达40~50℃,其土体产生一定的气化脱水。从而使土体含水量下降,孔隙减小,土体颗粒靠拢挤密,加固区的地下水位也有一定的下降。
(3)石灰桩的排水固结作用。
试验分析结果表明,石灰桩桩体的渗透系数一般为10-5~10-3cm/s,亦相当于细砂。由于其桩间距较小(一般为2~3倍桩径),水平排水路径很短,具有较好的排水固结作用。从建筑物沉降记录表明,建筑竣工开始,其沉降已基本稳定。
(4)胶凝、离子交换和碳化作用使桩周土强度提高。
由于生石灰吸水生成的Ca(OH)2一部分与土中Si O2和Al2O3产生反应,生成水化硅酸钙、水化铝酸钙等。水化物对土体颗粒起胶结作用,使土聚集体积增大,并趋于紧密。同时加固土体黏粒含量减少,说明颗粒胶结根本上改变土的结构,提高了土的强度,而使土的强度将随龄期的增长而增加。
(5)生石灰的置换作用。
由于石灰桩桩体具有桩间土更大的强度(抗压强度0.5~1MPa),因此形成复合地基。
对于砂类土等,由于成孔挤密了桩间土,加固层的重量变化不大。对于饱和黏性土,成孔时土体将隆起或侧向挤出,加固层的减载作用仍可考虑。
(6)加固层的减载作用。
石灰桩的密度为8kN/m3,显著小于土的密度,即使桩体饱和后,其密度也小于土的天然密度。当采用排土成桩时,加固层的自重减小,作用在下卧层的自重应力显著减小,即减小了下卧层顶面的附加应力。
采用不排土成桩时,对于杂填土和砂类土等,由于成孔挤密了桩间土,加固层的重量变化不大。对于饱和黏性土,成孔时土体将隆起或侧向挤出,加固层的减载作用仍可考虑。
3)设计计算
石灰桩设计的主要内容有桩身材料、桩径、桩长、置换率、桩距和布桩范围,并根据复合地基承载力和下卧层承载力要求以及变形控制的要求综合确定。
(1)材料。
石灰桩的材料以生石灰为主,生石灰选用现烧的并过筛,粒径一般为50mm左右,含粉量不得超过总重量的20%,Ca O含量不低于70%,其中夹石不大于5%。
掺和料优先选用粉煤灰、火山灰、炉渣等工业废料、生石灰与掺和料的配合比宜根据地质情况确定。生石灰与掺和料的体积比可选用1∶1或1∶2,对于淤泥、淤泥质土等软土可适当增加生石灰用量,桩顶附近生石灰用量不宜过大。当掺石膏和水泥时,掺加量为生石灰的3%~10%。
块状生石灰经测试其孔隙比为35%~39%,掺和料的掺入数量理论上应能充满生石灰的孔隙,以降低造价,减少生石灰的膨胀作用的内耗。
在淤泥中增加生石灰的用量有利于淤泥的固结,桩顶附近减少石灰的用量可减少石灰膨胀而引起的地面隆起,同时桩体强度较高。
(2)桩孔的布置和范围。
石灰桩可布设在基础地面下,当基底土的承载力特征值小于70kPa时,宜在基础外布设1~2排围护桩。
过去的习惯是将基础以外也布置数排石灰桩,如此造价则剧增。试验表明在一般的软土中,围护桩对提高复合地基承载力的增益不大。在承载力很低的淤泥或淤泥质土中,基础外围增加1~2排围护桩有利于淤泥的加固,可以提高地基的整体稳定性,同时围护桩可将土中大孔隙挤密其止水作用,可提高内排桩的施工质量。
石灰桩成孔直径应根据设计要求及所选用的冲孔方法确定,常用300~400mm,可按等边三角形或矩形布置,桩中心距可取2~3倍的成孔直径。
(3)桩长。
桩的长度取决于石灰桩的加固目的和上部结构的条件。
如果加固目的是为了形成一个压缩小的垫层,则桩长可较小,一般可取2~4m。洛阳铲成孔时不宜超过6m;机械成孔外投料时,桩长不宜超过8m;螺旋钻成孔及管内投料时可适当增加。
但是石灰桩的桩端宜选在承载力较高的土层中。由于石灰桩复合地基的桩土变形协调,石灰桩身又为可压缩的柔性桩,复合土层承载性能接近人工垫层。大量工程经验表明,复合土层沉降仅为桩长的0.5%~8%,沉降主要来自于桩底下卧层,因此宜将桩端置于承载力较高的土层中。
若加固目的是为了减少沉降,则就需要较长的桩。如果为了解决深层滑动问题,也需要较长的桩,保证桩身穿过滑动面。
(4)垫层。
当地基需要排水通道时,可在桩顶以上设200~300mm厚的砂石垫层。石灰桩宜留500mm以上的孔口高度,并用含水量适当的黏性土封口,封口材料务必夯实,封口标高应略于原地面。石灰桩桩顶施工标高应高出设计桩顶标高的100mm以上。
(5)承载力。
复合地基承载力特征值不宜超过160MPa,当土质较好且采取保证桩身强度的措施时,经过试验后可适当提高。其复合地基承载力特征值应通过单桩或多桩复合地基载荷试验确定。初步设计时可按一般散体材料桩的复合地基承载力公式估算。
fspk=mfpk+(1-m)fsk (10-21)
式中:fpk——石灰桩桩身抗压强度比例界限值,由单桩竖向载荷试验测定,初步设计时可取350~500kPa,土质软弱时取低值,kPa;
fsk——桩间土承载力特征值,取天然地基承载力特征值的1.05~1.20倍,土质软弱或置换率大时取高值,kPa;
m——面积置换率,桩面积按1.1~1.2倍成孔直径计算,土质软弱时宜取高值。
4)施工工艺
(1)成桩工艺。
石灰桩的成桩工艺分无管成桩和有管成桩两大类。无管成桩是用人工或机械在土中成孔以后,分段填料、分段夯实,最后封顶而成。有管成桩是用各类打桩机在土中沉入钢管,往管内填料,然后用芯管压实或在施工时振动、压缩空气等作用的同时,拨管形成桩身,再用盲板封管将桩顶段反压密实,同样封顶成桩。
最简单的成桩工具是洛阳铲,用于无管成桩,桩长一般不超过5~6m。较先进的设备是能施加空气压力的生石灰专用打桩机。而用得最多的还是各类振动、锤击、静力压桩机,可采用预制桩尖或活瓣钢管,通常是管内成桩,其中,以振动打桩机的成桩质量较好。静压成桩仅用于软土。
(2)施工注意事项及安全措施。
①施工前应进行成桩试验和材料配合比试验,以验证成桩工艺的合理性,确定合理的成桩参数,如桩身材料配合比、填料数量、气压或夯击参数,并了解施工中可能发生的问题和相应对策。
②修复破损的明沟、下水道、化粪池等,截断邻近的河流池塘的渗流,防止施工中地表水和邻近水源的渗水浸入石灰桩身。
③生石灰不能长期储存,应随进随用,也不能露天堆放。有条件时,宜采用双层塑料袋包装的生石灰。当储存量大于时,应先采取措施防止生石灰的自燃。
④打桩应按“先外排后内排,先周围后中间”的原则进行,单排桩应采用“先两端后中间”的施工方式,为便于打桩的进行和增加约束力,桩机行驶路线宜采用前进式,并采用两遍跳打方式。
5)质量检验
石灰桩施工检测宜在施工7~10d后进行,竣工验收检测宜在施工28d后进行。
施工检测可采用静力触探、动力触探或标准贯入试验。检测部位为桩中心及桩间土,每两点为一组。检测组数不少于总桩数的1%。
石灰桩地基竣工验收时,承载力检验应采用复合地基载荷试验。载荷试验数量宜为地基处理面积每200m2左右布置一个点,并且每一单体工程不应少于3点。
3.碎石桩和砂桩
砂桩和砂石桩统称砂石桩,是指用振动、冲击或水冲等方式在软弱地基中成孔后,再将砂或砂卵石(或砾石、碎石)挤压入土孔中,形成大直径的砂或砂卵石(碎石)所构成的密实桩体,它是处理软弱地基的一种常用的方法。
这种方法经济、简单且有效。对于松砂地基,可通过挤压、振动等作用,使地基达到密实,从而增加地基承载力,降低孔隙比,减少建筑物沉降,提高砂基抵抗震动液化的能力。用于处理软黏土地基时,可起到置换和排水砂井的作用,加速土的固结,形成置换桩与固结后软黏土的复合地基,显著地提高地基抗剪强度。而且这种桩施工机具常规,操作工艺简单,可节省水泥、钢材,就地使用廉价地方材料,速度快,工程成本低,故应用较为广泛。适用于挤密松散砂土、素填土和杂填土等地基,对建在饱和黏性土地基上主要不以变形控制的工程,也可采用砂石桩作置换处理。
碎石桩最早由法国于1835年在Bayonne建造兵工厂时采用,此后被人们所遗忘,直到1937年德国人发明了振动水冲法(vibroflotation,简称振冲法)才用来挤密松砂地基。20世纪60年代初期,振冲法开始用于加固黏性土地基,并形成碎石桩。从此以后,一般将振冲法在黏性土、粉土、饱和黄土及填土中形成的密实碎石柱称作碎石桩。
随着时间的推移,各种不同的施工方法相继产生,如沉管法、振动气冲法、袋装碎石桩法、强夯置换法等,使碎石桩和砂桩的应用范围不断扩大。只要最终制成的柱(桩)体是以石料组成的,都称之为“碎石桩”。
国内在进行碎石桩及砂桩施工时,最常用的方法主要有振动成桩法(振动法)、锤击成桩法(锤击法)及振动水冲法(振冲法)。其中,采用振动法及锤击法成桩时,均有沉管施工过程。
采用振冲法施工碎石(砂)桩时,按其加固机理的不同,又可分为振冲置换和振冲密实法两类。
在处理黏性土地基时,一般将含泥量不大的碎石、卵石、角砾、圆砾等硬质材料充填在振冲施工形成的孔道中,经振实形成多根石料桩体,这些桩体与原地基土共同构成所谓复合地基,使地基承载力提高,沉降减少。由于碎石桩在黏性土中主要起置换作用,故称为振冲置换法。该法适用于处理不排水抗剪强度不小于20kPa的黏性土、粉土、饱和黄土及填土等地基。
在处理砂土、粉土地基时,由于振冲施工过程中,桩间土在振动及压水作用下土层发生液化,土粒重新排列,孔隙减小,使地基土承载力和抗液化能力提高。由于施工过程中对桩间土起挤密作用,故称为振冲密实法。施工时,除了振冲置换法所采用的填料外,还可采用砾砂、粗砂及中砂等。
碎石桩和砂桩适用于以下建筑:①中小型工业与民用建筑物;②土工构筑物,如土石坝、路基等;③港湾构筑物,如码头、护岸等;④材料堆放场,如原料场、矿石场等;⑤其他工程,如火车轨道、滑道和船坞等。
下面,对施工粗料土桩(碎石桩、砂桩)时的加固机理、设计计算和施工工艺等方面做一简要的介绍。
1)加固机理
(1)对松散砂性土的加固机理。
砂土属于单粒结构。对密实的单粒结构而言,因颗粒排列已接近最稳定的位置,在动力和静力作用下不会再产生较大的沉降,所以是理想的天然地基。而疏松的单粒结构,颗粒间孔隙大,颗粒位置不稳定,在动力和静力作用下,颗粒很容易产生位移,因而会产生较大的沉降,特别是在振动力作用下,这种现象更为显著,其体积可以减少20%左右。因此,松散砂性土未经处理不能作为地基。
碎石桩和砂桩挤密法加固砂性土地基的主要目的,就是提高地基土承载力,减少变形量和增强地基抗液化性能。两者加固砂土地基抗液化的机理主要有以下三个方面。
①挤密作用。
挤密砂桩和碎石桩采用沉管法(管端有底盖或放置预制桩头)或干振法施工有如下优点。
●由于在成桩过程中桩管对周围砂层产生很大的横向挤压力,桩管将地基土中等于桩管体积的砂挤向桩管周围的砂层中,使桩管周围的砂层密实度增大,从而提高了地基的抗剪强度和水平抵抗力。
●使砂土地基挤实到临界孔隙比以下,以防止砂土在地震时产生液化。
●由于砂层孔隙比减小,因而促使其固结变形减少。
●由于施工时的挤密作用,促使地基土变得十分均匀。
当采用振冲法施工时,砂土颗粒在受高频强迫振动时重新排列致密,又因填入振冲孔中的大重粗骨料被强大的水平振动力挤入周围土中,使砂土密实度明显提高,孔隙率降低,干重度及内摩擦角增大,承载力提高,抗液化性能得到改善。
②排水减压作用。
碎石桩加固砂土时,桩孔内充填碎石(卵、砾石)等反滤性好的粗颗粒料,在地基中形成了渗透性能良好的人工竖向排水减压通道,可以有效地消散和防止超孔隙水压力的增高和砂土产生液化,并可加快地基的排水固结。
③砂基预震效应。
美国的H.B.Seed等人于1975年进行的试验证实:在一定动应力循环次数下,当两个试样的相对密实度相同时,要造成经过预震的试样发生液化,所需施加的应力要比引起未经预震的试样液化所需的应力值提高46%。因此可知,砂土液化除了与土的相对密实度有关外,还与砂土的振动应变历史有关。振冲法施工时,振冲器以1 450次/min的振动频率,98m/s2的水平加速度和90kN的激振力喷水沉入土中,施工过程使填料和地基土在挤密的同时获得强烈的预震,这对砂土地基增强抗液化能力是极为有利的。
碎石桩和砂桩挤密法适用于粉细砂到砾粗砂土中。一般认为,只要粒径小于0.005mm的细粒含量不超过10%,都可以得到显著的挤密效果。
(2)对黏性土的加固机理。
对黏性土地基(尤指饱和软土)而言,由于土的黏粒含量多,粒间结合力强,渗透系数小,在振动力或挤压力作用下土中水不易排出,所以碎石桩和砂桩的作用不是使地基挤密,而是置换和对地基土起排水固结作用。碎石桩或砂桩与桩间土形成了复合地基,提高了地基的承载力,减少地基沉降,还提高了土体的抗剪强度,增大了地基的整体稳定性。由密实的碎石桩和砂桩在地基中形成了排水路径,起着排水砂井的作用,因而加速了黏性土地基的固结速率。
2)设计计算
(1)加固范围。
加固范围应根据建筑物的重要性和场地条件确定,通常都大于基础底面面积。若为振冲置换法,对一般地基,宜在基础外缘增加1~2排桩;对可液化地基,应在基础外缘增加2~4排桩。若为振冲密实法,应在基础外缘放宽不得少于5m。若采用振动成桩法或锤击成桩法进行沉管作业时,应在基础外缘增加不少于1~3排桩;当用于防止砂层液化时,每边放宽不宜小于处理深度的1/2,并不应小于5m;当可液化土层上覆盖有厚度大于3m的非液化土层时,每边放宽不宜小于液化土层厚度的1/2,并且不应小于3m。
(2)桩位布置。
需进行大面积满堂处理时,桩位宜采用等边三角形布置;对于独立基础或条形基础,桩位宜采用正方形、矩形或等腰三角形布置;对于圆形基础或环形基础(如油罐基础)宜采用放射形布置,如图10-25所示。
图10-25 桩位布置
(3)桩径。
桩径应根据地基土质情况和成桩设备等因素确定。采用30k W振冲器成桩时,碎石桩直径一般为0.70~1.0m;采用沉管法成桩时,碎石桩和砂桩的直径一般为0.3~0.8m。对饱和黏性土地基宜选用较大的直径。
(4)加固深度。
砂石桩桩长可根据工程要求和工程地质条件通过计算确定。当松软件土层厚度不大时,砂石桩桩长宜穿过松软土层;当松软土层厚度较大时,对按稳定性控制的工程,砂石桩桩长应不小于最危险滑动面以下2m的深度;对按变形控制的工程,砂石桩桩长应满足处理后地基变形量不超过建筑物的地基变形允许值,并满足软弱下卧层承载力的要求;对可液化的地基,砂石桩桩长应按现行国家标准《建筑抗震设计规范》(GB 50011—2010)的有关规定采用,桩长不宜小于4m。
(5)桩距的确定。
砂石桩的间距应通过现场试验确定。对粉土和砂土地基,不宜大于砂石桩直径的4.5倍;对黏性土地基不宜大于砂石桩直径的3倍。初步设计时,砂石桩的间距也可按下列公式估算。
松散粉土和砂土地基可根据挤密后要求达到的孔隙比e1来确定。
当按等边三角形布置时,有
当按正方形布置时,有
式中:s——砂石桩间距,m;
d——砂石桩直径,m;
ξ——修正系数,当考虑振动下沉密实作用时,可取1.1~1.2,不考虑振动下沉密实作用时,可取1.0;
e0——地基处理前砂土的孔隙比,可按原状土样试验确定,也可根据动力或静力触探等对比试验确定;
e1——地基挤密后要求达到的孔隙比;
emax,emin——砂土的最大、最小孔隙比,可按现行国家标准《土工试验方法标准》(GB/T 50123—1999)的有关规定确定;
Dr1——地基挤密后砂土的相对密实度,可取0.70~0.85。
黏性土地基,可根据式或式计算。
按等边三角形布置时,有
按正方形布置时,有
式中:Ae——根砂石桩承担的处理面积,m2。
式中:Ap——砂石桩的截面积,m2;
m——面积置换率。
3)施工工艺
目前国内常用的成桩工艺多种多样,这里主要介绍振冲法,其他方法可以参考相关资料。
(1)机具设备。
①主体设备:振冲器。振冲器为中空轴立式潜水电机带动偏心块振动的短柱状机具,如图10-26所示。
②配套设备:起重机。起重机一般为轮胎式或履带式。起重能力和提升高度应满足施工要求。
(2)施工过程。
振冲法是碎(砂)石桩的主要施工方法之一。该法是以起重机吊起振冲器,启动潜水电机后带动偏心块,使振冲器产生高频振动,同时开动水泵,使高压水通过喷嘴喷射出高压水流,在边振边冲的联合作用下,将振冲器沉到土中的设计深度。在进行振冲置换法施工时,因孔内泥浆太稠而影响填料的下沉速度,需以回水带出稠浆进行清孔,之后从地面向孔中逐段填入碎石,并在振动作用下,碎石被振挤密实,达到所要求的密实度后提升振冲器。如此重复填料和振密,直至地面,从而在地基中形成一根大直径的密实度很高的桩体,如图10-27所示。
图10-26 振冲器构造示意图
图10-27 振冲施工过程
施工过程中的填料量、密实电流和留振时间是振冲法施工中质量检验的关键。这三者实际上相互联系和互为保证的。只有在一定填料量的情况下,才能保证达到一定的密实电流,而这时必须要有一定的留振时间,才能把填料挤紧振密。
4)质量检验
振冲施工结束后,除砂土地基外,应间隔一定时间以后再进行地基加固的质量检验。对于粉土地基而言,间隔时间可取2~3周进行质量检验。对黏性土地基,可间隔3~4周进行质量检验。
可以采用单桩载荷试验进行质量检验,试验所用圆形压板的直径与桩的直径相等。按每200~400根桩随机抽取一根桩进行检验,但总桩数不得少于3根。对砂土或粉土层中的碎石(砂)桩,除了用单桩载荷试验检验外,还可用标准贯入、静力触探等试验对桩间土进行处理前后的对比试验。对砂桩也可采用标准贯入或动力触探等方法检测桩的挤密质量。
对大型的、重要的或场地复杂的碎石(砂)桩工程,应进行复合地基的处理效果检验。可采用单桩或多桩复合地基载荷试验,检验点应选择在有代表性的或土质较差的地段,其数量可按处理面积的大小取2~4组。
4.水泥粉煤灰碎石桩
水泥粉煤灰碎石桩(cement fly-ash gravel pile),简称CFG桩,是近年发展起来的处理软弱地基的一种新方法。它是在碎石桩的基础上掺入适量石屑、粉煤灰和少量水泥,加水拌和后制成具有一定强度的桩体。其骨料仍为碎石,通过掺入石屑来改善颗粒级配;通过掺入粉煤灰来改善混合料的和易性,以及利用其活性减少水泥用量;并通过掺入少量水泥使具一定的黏结强度。CFG桩不同于碎石桩,碎石桩是由松散的碎石组成,在荷载作用下将会产生压胀变形,当桩周土为强度较低的软黏土时,桩体易产生压胀破坏;并且碎石桩仅在上部约3倍桩径长度的范围内传递荷载,超过此长度,增加桩长,承载力提高不显著,故用碎石桩加固黏性土地基,承载力提高幅度不大。而CFG桩可充分利用桩间土的承载力,共同作用,并可传递荷载到深层地基中去,具有较好的技术性能和经济效果。碎石桩与CFG桩的对比见表10-12。
表10-12 碎石桩与CFG桩的对比
图10-28 CFG桩复合地基示意图
1)加固机理
CFG桩加固软弱地基,桩和桩间土一起通过褥垫层形成CFG桩复合地基,如图10-28所示。此处的褥垫层不是基础施工时通常做的10cm厚的素混凝土垫层,而是由粒状材料组成的散体垫层。由于CFG桩系高黏结强度桩,褥垫层是桩和桩间土形成复合地基的必要条件,亦即褥垫层是CFG桩复合地基不可缺少的一部分。加固软弱地基主要有以下三种作用。
(1)桩体作用。
在荷载作用下,CFG桩的压缩性明显小于其周围软土。因此,基础传递给复合地基的附加应力随地基的变形逐渐集中到桩体上,即出现了应力集中现象。复合地基中的CFG桩起到了桩体作用。
另外,与由松散材料组成的碎石桩不同,CFG桩桩身具有一定的黏结强度。在荷载作用下, CFG桩桩身不会出现压胀变形,桩身的荷载通过桩周的摩阻力和桩端阻力传递到地基深处,使复合地基的承载力有较大幅度地提高,加固效果显著。而且CFG桩复合地基变形小,沉降稳定快。
(2)挤密作用。
由于CFG桩采用振动沉管法施工,机械的振动和挤压作用使桩间土得以挤密。经加固处理后,地基土的物理力学指标都有所提高,这也说明加固后的桩间土已挤密。
(3)褥垫层作用。
由级配砂石、粗砂、碎石等散体材料组成的褥垫,在复合地基中有如下几种作用:①保证桩、土共同承担荷载;②减少基础底面的应力集中;③褥垫厚度可以调整桩、土荷载分担比;④褥垫层厚度可以调整桩、土水平荷载分担比。
2)设计计算
(1)桩径。
水泥粉煤灰碎石桩可只在基础范围内布置,桩径宜取350~600mm。(2)桩距根据土质、布桩形式、场地等实际情况,可按表10-13选用。
表10-13 CFG桩距选用参考值
注:d表示桩径,以成桩后桩的实际桩径为准。
(3)褥垫层。
褥垫层厚度一般取150~300mm为宜,当桩径和桩距过大时,褥垫层厚度宜取高值。褥垫层材料宜用中砂、粗砂、级配砂石或碎石等,最大粒径不宜大30mm。
3)施工方法
水泥粉煤灰碎石桩的施工,应根据现场条件选用下列施工工艺。
(1)长螺旋钻孔灌注成桩:适用于地下水位以上的黏性土、粉土、素填土、中等密实以上的砂土。
(2)长螺旋钻孔、管内泵压混合料灌注成桩,适用于黏性土、粉土、砂土以及对噪声或泥浆污染要求严格的场地。
(3)振动沉管灌注成桩,适用于粉土、黏性土及素填土地基。
实际工程中振动沉管机成桩施工较多,其振动成桩工艺如下。
①沉管。
桩机就位须水平、稳固、调整沉管与地面垂直,确保垂直度偏差不大于1%。若采用预制钢筋混凝土桩尖,需埋入地表以下300mm左右。启动电动机,开始沉管过程中注意调整桩机的稳定,严禁倾斜和错位。沉管过程中须做好记录,激振电流每沉1m记录一次,对土层变化处应特别说明,直到沉管至设计标高。
②投料。
在沉管过程中可用料斗进行空中投料,待沉管至设计标高后须尽快投料,直到管内混合料面与钢管料口平齐。如上料量不多,须在拔管过程中进行孔中投料,以保证成桩桩顶标高满足设计要求。混合料配比应严格执行规定,碎石和石屑含杂质不大于5%。按设计配比配制混合料,投入搅拌机加水拌和,加水量由混合料坍落度控制,一般坍落度为30~50mm,成桩后桩顶浮浆厚度一般不超过200mm。混合料的搅拌须均匀,搅拌时间不得少于1min。
③拔管。
当混合料加至钢管投料口平齐后,开动电动机,沉管原地留振10s左右,然后边振动边拔管。拔管速度按均匀线速控制,一般控制在1.2~1.5m/min左右,如遇淤泥或淤泥质土,拔管速率可适当放慢。当桩管拔出地面,确认成桩符合设计要求后用粒状材料或湿黏土封顶,然后移机继续下一根桩施工。
④施工顺序。
连续施打可能造成的缺陷是桩径被挤扁或缩颈,但很少发生桩完全断开。跳打一般很少发生已打桩桩径被挤小或缩颈现象,但土质较硬时,在已打桩中间补打新桩时,已打桩可能被振断或振裂。
在软土中,桩距较大可采用隔桩跳打。在饱和的松散粉土中施打,如桩距较小,不宜采用隔桩跳打方案。满堂布桩,无论桩距大小,均不宜从四周向内推进施工。施打新桩时与已打桩间隔时间不应少于7d。
⑤保护桩长与桩头处理。
所谓保护桩长是指成桩时预先设定加长的一段桩长,基础施工时将其剔掉。保护桩长越长,桩的施工质量越容易控制,但浪费的料也越多。设计桩顶标高离地表距离不大于1.5m时,保护桩长可取50~70cm,上部用土封顶。桩顶标高离地表距离较大时,保护桩长可设置70~100cm,上部用粒状材料封顶直到地表。
CFG桩施工完毕,待桩体达到一定强度(一般为7d左右)后,方可进行基槽开挖。在基槽开挖中,如果设计桩顶标高距地面不深(一般不大于1.5m),宜考虑采用人工开挖,不仅可防止对桩体和桩间土产生不良影响,而且经济可行;如果基槽开挖较深,开挖面积大,采用人工开挖不经济,可考虑采用机械和人工联合开挖,但人工开挖留置厚度一般不宜小于700mm。桩头凿平,并适当高出桩间土1~2cm。
⑥褥垫铺设。
为了调整CFG桩和桩间土的共同作用,宜在基础下铺设一定厚度的褥垫层。褥垫材料多为粗砂、中砂或级配砂石,限制最大粒径不超过3cm。
褥垫层铺设宜采用静力压实法,当基础底面下桩间土的含水量较小时,也可采用动力夯实法,夯填度(夯实后的褥垫层厚度与虚铺厚度的比值)不得大于0.9。
施工垂直度偏差不应大于1%。对于满堂布桩基础,桩位偏差不应大于0.4倍桩径。对于条形基础,桩位偏差不应大于0.25倍桩径,对单排布桩桩位偏差不应大于60mm。
4)质量控制
水泥粉煤灰碎石桩地基检验应在桩身强度满足试验荷载条件时,并宜在施工结束28d后进行。
桩间土检验桩间土质量检验可用标准贯入、静力触探和钻孔取样等试验对桩间土进行处理前后的对比试验。对砂性土地基可采用标准贯入或动力触探等方法检测挤密程度。
单桩和复合地基检验可采用单桩载荷试验、单桩或多桩复合地基载荷试验进行处理效果检验。试验数量宜为总桩数的0.5%~1%,并且每个单体工程的试验数量不应少于3点。
应抽取不少于总桩数的10%的桩进行低应变动力试验,检测桩身完整性。
三、任务实施
【例10-6】 甘肃省建工局木材厂单身宿舍土桩挤密法加固地基实例。
1.工程概况
该厂单身宿舍兼办公楼为五层砖混结构,长×宽=42.9m×12.3m,建筑面积2 750m2。地质勘察资料表明:在建筑场地内湿陷性黄土层厚7~8m,分级湿陷量为300mm,属Ⅱ级自重湿陷性场地。土的含水量ω=8.7%~14.2%,天然土干密度ρd=1.26~1.32t/m3,具有高~中压缩性。地基决定采用土挤密桩处理。
2.设计
桩孔直径为400mm,桩中心距l=2.22d=0.89m。成孔挤密后桩间土的干密度计划提高到1.55~1.61t/m3,相应达到的压实系数λc为0.925~0.943,可满足消除湿陷性要求。桩孔内填料采用接近最优含水量(15%~17%)的黄土,夯实后压实系数λc不低于0.93。填料夯实按每两铲土锤击五次进行。
平面处理范围:每边超出基础最外边缘2m,处理面积为790m2,桩孔总数为1 155个,整片布置桩孔,每平方米处理面积内平均分布桩孔1.46个。从基础底面算起处理层厚度为4.2m,消除地基湿陷量80%,剩余湿陷量60mm。
3.施工
采用沉管法成孔,使用柴油沉桩机。桩孔填料采用人工定量填料,夯实使用偏心轮夹杆式夯实机。整个工期历时78d,实际工作41d,平均每日完成28个孔。
4.效果检验
在施工过程中和施工结束后,分别在场地11个点上分层检验了桩间土的干密度和压实系数(见表10-14),检验表明符合设计要求。
表10-14 桩间土挤密效果检验
注:(1)土的最大干密度ρdmax=1.67t/m3。
(2)土的含水量偏低,不利于挤密。
对桩孔填料夯实质量也进行了11个点的检验(见表10-15)。检验结果表明,夯实质量差、不均匀,个别地方存在填料疏松未夯现象,普遍未能达到压实系数,产生这种情况的主要原因是施工管理不严、分次填料过快过多。填料含水量平均仅为11.4%,远低于最优含水量(15%~17%),这也是影响夯实质量的一个重要因素。
桩孔填料夯实后的平均压实系数为0.9,仅达到基本消除湿陷性的目的。经过综合分析,认为土桩挤密后尚可满足消除地基80%湿陷量的要求。
表10-15 桩孔填料夯实质量检验
【例10-7】 某场地湿陷性黄土厚度为7~8m,平均干密度ρd=1.15t/m3。设计要求消除黄土湿陷性,经地基处理后,桩间土最大干密度要求达到1.6t/m3。现决定采用灰土挤密桩处理地基。灰土桩桩径为0.4m,等边三角形布桩。该场地灰土桩的桩距最接近哪个值(桩间土平均压实系数ηc取0.93)。
【解】 由式(10-17)得
故取s为0.8m。
四、任务小结
土或灰土挤密桩是利用沉管、冲击或爆破等方法在地基中挤土,形成直径为28~60cm的桩孔,然后向孔内夯填素土或灰土(灰土是用不同比例的消石灰和土掺和而成)形成的,与桩间土共同组成复合地基以承受上部荷载。土桩主要用于消除湿陷性黄土的湿陷性;当以提高地基的承载力或水稳性为主要目的时,应适用灰土桩。土桩或灰土桩设计的主要内容包括桩孔直径、桩长、桩距和排距、处理范围、填料和压实系数、承载力和变形模量及变形计算;土桩和灰土桩的成孔方法有沉管法、爆扩法及冲击法等。
石灰桩是指采用机械或人工在地基中成孔,然后灌入生石灰或按一定比例加入粉煤灰、炉渣、火山灰等掺和料及少量外加剂进行振密或夯实而形成的桩体,石灰桩与经过改良后的桩周土共同承担上部建筑物荷载。石灰桩设计的主要内容有桩身材料、桩径、桩长、置换率、桩距和布桩范围,并根据复合地基承载力和下卧层承载力要求以及变形控制的要求综合确定。
砂石桩,是指用振动、冲击或水冲等方式在软弱地基中成孔后,再将砂或砂卵石(或砾石、碎石)挤压入土孔中,形成大直径的砂或砂卵石(碎石)所构成的密实桩体,它是处理软弱地基的一种常用的方法。设计的主要内容包括桩径、加固范围、加固深度、桩位布置、桩距的确定等;常用的成桩工艺主要是振冲法成桩。
水泥粉煤灰碎石桩,简称CFG桩,它是在碎石桩的基础上掺入适量石屑、粉煤灰和少量水泥,加水拌和后制成具有一定强度的桩体。CFG桩的特点是:改变桩长、桩径、桩距等设计参数,可使承载力在较大范围内调整;沉降量小,变形稳定快,工艺性好,灌筑方便,易于控制施工质量;可节约大量水泥、钢材,利用工业废料,消耗大量粉煤灰,降低工程费用等特点。
五、拓展提高
1.夯实水泥土复合地基
夯实水泥土复合地基系用洛阳铲或螺旋钻机成孔,在孔中分层填入水泥、土混合料经夯实成桩,与桩间土共同组成复合地基。
夯实水泥土复合地基,具有提高地基承载力(50%~100%),降低压缩性;材料易于解决;施工机具设备、工艺简单,施工方便,工效高,地基处理费用低等优点。适于加固地下水位以上,天然含水量12%~23%、厚度10m以内的新填土、杂填土、湿陷性黄土以及含水率较大的软弱土地基。
桩孔直径根据设计要求、成孔方法及技术经济效果等情况而定,一般选用直径为300~500mm。桩长根据土质情况、处理地基的深度和成孔工具设备等因素确定,一般为3~10m。桩端进入持力层应不小于1~2倍桩径。桩多采用条基(单排或双排)、或满堂布置;桩体间距0.75~1.0m,排距0.65~1.0m;在桩顶铺设150~200mm厚3∶7灰土褥垫层。
2.渣土桩法
渣土桩是指用建筑垃圾、生活垃圾和工业废料形成的无黏结强度的桩。此项技术既可消纳垃圾又可加固地基,具有显著的社会和经济效益。
渣土桩的施工方法很多,归纳起来,主要有垂直振动法成桩和垂直夯击法成桩两类。此方法使桩体密实,挤密效果显著,承载力大幅提高。另外,对于粒径小的渣土桩,为了提高其效果,可以在渣土料中加入一定比例的黏结剂,如石灰、水泥等,使桩身黏结强度提高,加固效果更好。
六、拓展练习
1.什么是土桩或灰土桩?它的特点有哪些?
2.土桩或灰土桩的成孔工艺有哪些?
3.什么是碎石桩和砂桩?加固机理是什么?
4.碎石桩设计时加固范围是如何规定的?
5.什么是水泥粉煤灰碎石桩(CFG桩)?它的加固机理是什么?
6.水泥粉煤灰碎石桩的施工工艺主要有哪些?

