电阻应变片的测量电路
上一节
下一节
1、动图

2、直流电桥
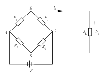
平衡条件

图3.5 直流电桥的平衡条件
电桥平衡Uo=0时,即电桥无输出电压,则有:
这就是电桥平衡的条件,即相邻两臂电阻的比值相等。
3、视频学习:电阻应变传感器测量转换电路
视频1:
视频2:
中国大学MOOC视频学习网址:
https://www.icourse163.org/course/WHU-1001549001?tid=1450211448
课程信息:传感器技术 吴琼水 武汉大学
4、PPT
5、动画


